zhihuichengshi-47.jpg zhihuichengshiPH-941.png

智慧警务

以城市级三维模型为基础,通过物联网、大数据等技术,为城市警务管理提供数字化平台的一站式应用解决方案,实现城市精细化管理,高效化治理。

  • 行业挑战
  • 解决方案
  • 方案优势
  • 方案详情
  • 相关案例

行业挑战

  • b2icon01.svg
    数据管理繁琐

    传统警务系统面临数据存储分散、管理困难的问题,警务工作需要处理大量案件、人员信息和视频监控等数据。

  • b2icon02.svg
    信息调度分散

    传统警务系统中,各功能模块独立存在,信息共享和交互有限,导致数据资源利用水平不高。警务人员在处理案件时需要在不同系统间切换,降低了工作效率。

  • b2icon03.svg
    安全标准高

    警务系统处理的数据敏感性很高,涉及个人隐私和敏感案件信息。必须确保数据安全性和可用性,防止数据泄露和非法访问。

解决方案全景

以公安信息化为核心,通过互联化、物联化、可视化、智能化的方式,促进公安系统各个功能模块高度集成、协调运作

通过冰柏科技全自研的 Mirauge3D全自动三维建模引擎,实现城市级三维模型的自动化重建与数据更新。以三维模型为数据支撑底座,在系统平台上集成各项目的信息化数据,对海量数据系统性分析并构建警情数据库。在城市实景三维模型上,实现可视化分类的警情分析、查询、批量编辑等功能。

通过系统平台,警务管理人员可对管制区域内人员、建筑、设备、安全、人员流动、处理进度及各项变更等进行实时控制,实现一体化的“智慧警务”。

整体系统支持私有云、本地化等多种部署方式,满足特殊行业的安全保障需求。

智慧警务

联系我们下载完整解决方案

方案优势

  • download.svg
    视觉原生化

    通过“三维场景+系统”的设计,让警方部署使用时仿佛身临其境,通过在三维场景中模拟操作,获得最佳解决方案。

  • download-519.svg
    信息体系化

    通过对人、车辆、公共设备、建筑楼宇等资源信息数据的整合,让警方以最快速度获取需要信息,节省办案时间。

  • download-170.svg
    完全国产化

    从三维模型数据到平台数据交互,均由我司独立自主研发,全面支持国产化,满足国家推进国产替代方案的要求。

  • download-566.svg
    部署私有化

    支持部署在指定服务器,支持专网内部部署,满足数据保密需求。

核心功能

  • 数据大屏
  • 三维地图
  • 一标三实可视化
  • 视频监控点位可视化
  • 后台管理
  • 数据大屏

    页面显示的数据信息包括:案情总览、分类占比、辖区占比、结案案件趋势、监控总览、警员数据、人口数据等。

    • 数据大屏
  • 三维地图

    基于城市的三维实景模型,集成“一标三实可视化”、“监控虚实融合”、”巡查与预警“、”地物管理与定位“、”执法记录仪管理“等多个场景功能模块,和”三维浏览与测量“、”监控可视域分析“等三维GIS应用。

    三维浏览与测量

    使用冰柏科技全自研的 Mirauge3D全自动影像三维建模系统对管辖城区进行精细且真实的场景重建,支持城市级建模,最快可支持7天可更新模型,并提供高清流畅的模型浏览体验。


    • 三维地图
    • 三维浏览与测量
  • 一标三实可视化

    通过建筑模型单体化技术,将房屋单位最小化至“户”,可在城市三维模型上标明每栋楼、每个单元楼及楼层、房间的住户信息。支持双向检索,联动地理位置与住户详细信息。

    • 一标三实可视化
  • 监控点位可视化

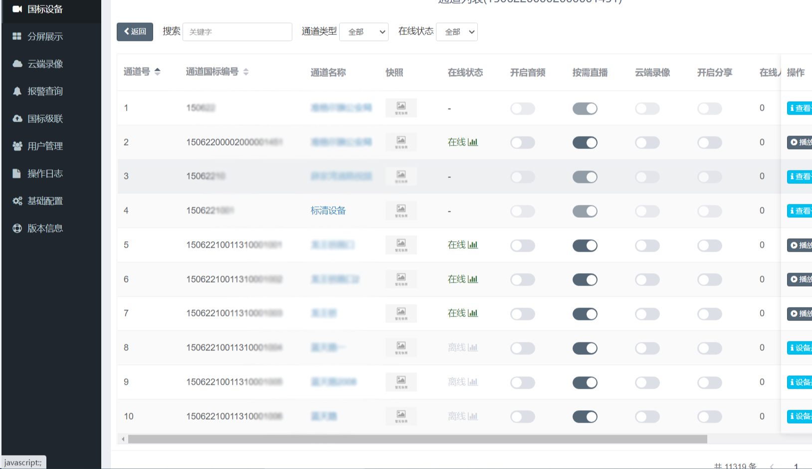
    全域实时监控查看,平台提供接口,支持接入监控设备等常用传感器,对管辖区域内监控设备建档并统一管理,并支持在实景三维地图中实时跳转,即点即看。

    监控布点的可视域分析,是运用计算几何原理和计算机图形学技术解决地形上监控点的可视性,防止监控死角。

    监控虚实融合

    将城市监控画面与三维模型相融合,画面精准融合显示在三维模型对应的空间真是地理坐标位置,充分发挥三维模型直观显示的特点,实现时空基准统一,实现基于空间位置实时进行大数据分析和异常情况预警,围绕着日常视频巡逻、警情处置等各类社会治安管理问题,直观快速的实现位置掌握和可视化指挥。


    • jiankongyuanjianfenbu2-208.png
    • 监控虚实融合
  • 后台管理

    作为整个系统的数据展示区域,在数据屏幕左右两侧直观的展现出来7大分类,可以一目了然的获取基本信息,方便以最快的速度做出决策。包含“警民管理”“设备管理”“监控管理””系统管理”等

    • 后台管理

以自主可控技术,助力政企客户解决行业难题

  • 服务热线

    服务热线

    (杭州)

  • 在线咨询

    weixintupian2026022617033212284.jpg

    扫码添加企业微信

  • 预约演示